本實用新型涉及船舶調節閥技術領域,具體為一種手動式氣動調節閥。

背景技術:
氣動調節閥就是以壓縮空氣為動力源,以氣缸為執行器,並借助於電氣閥門定位器、轉換器、電磁閥、爆違法等附件去驅動閥門,實現開關量或比例式調節,接收工業自動化控製係統的控製信號來完成調節管道介質的流量、壓力、溫wen度du等deng各ge種zhong工gong藝yi參can數shu,氣qi動dong調tiao節jie閥fa的de特te點dian就jiu是shi控kong製zhi簡jian單dan,反fan應ying快kuai速su,且qie本ben質zhi安an全quan,不bu需xu另ling外wai再zai采cai取qu防fang爆bao措cuo施shi,氣qi動dong調tiao節jie閥fa通tong常chang由you氣qi動dong執zhi行xing機ji構gou和he調tiao節jie閥fa連lian接jie安an裝zhuang調tiao試shi組zu成cheng,氣qi動dong執zhi行xing機ji構gou可ke分fen為wei單dan作zuo用yong式shi和he雙shuang作zuo用yong式shi兩liang種zhong,單dan作zuo用yong執zhi行xing器qi內nei有you複fu位wei彈dan簧huang,而er雙shuang作zuo用yong執zhi行xing器qi內nei沒mei有you複fu位wei彈dan簧huang。其qi中zhong單dan作zuo用yong執zhi行xing器qi,可ke在zai失shi去qu起qi源yuan或huo突tu然ran故gu障zhang時shi,自zi動dong歸gui位wei到dao閥fa門men初chu始shi所suo設she置zhi的de開kai啟qi或huo關guan閉bi狀zhuang態tai。
目(mu)前(qian)市(shi)場(chang)上(shang)通(tong)用(yong)的(de)氣(qi)動(dong)調(tiao)節(jie)閥(fa),一(yi)般(ban)采(cai)用(yong)螺(luo)紋(wen)進(jin)行(xing)閥(fa)體(ti)固(gu)定(ding)。這(zhe)種(zhong)結(jie)構(gou)導(dao)致(zhi)氣(qi)動(dong)調(tiao)節(jie)閥(fa)拆(chai)裝(zhuang)不(bu)易(yi)。不(bu)但(dan)提(ti)高(gao)了(le)手(shou)工(gong)操(cao)作(zuo)的(de)勞(lao)動(dong)強(qiang)度(du),且(qie)多(duo)次(ci)拆(chai)裝(zhuang)後(hou)容(rong)易(yi)出(chu)現(xian)數(shu)據(ju)不(bu)準(zhun)確(que),誤(wu)差(cha)較(jiao)大(da)的(de)問(wen)題(ti)。由(you)於(yu)加(jia)工(gong)誤(wu)差(cha)、zhuangpeidengfangmiandeyingxiang,dangyidongfaganshi,fabanmifengmianhefazuomifengmianzhijiandechanshengyidingjuli,dangxuyaoguanbigaifashi,wufadadaoquanmifengzhuangtai,xielouliangda,juyoujiagongkunnan、成本高的技術缺陷。
技術實現要素:
benshiyongxinxingdemudezaiyutigongyizhongshoudongshiqidongtiaojiefa,tongguozaifatiwaiceshezhitiaojieluogan,tongguoshoudongtiaojiesuojinluomusuojinqidongtiaojiefa,yijiejueshangshubeijingjishuzhongtichudewenti。
為實現上述目的,本實用新型提供如下技術方案:一種手動式氣動調節閥,包括閥體、閥蓋、閥瓣組件、連接器、上部閥杆、下部閥杆、彈簧、彈簧座、調節螺杆、suojinluomuyijiqidongzhixingqi,suoshuqidongzhixingqisheyusuoshufatideshangfang,suoshulianjieqiyiduantongguoshangbufaganyuqidongzhixingqilianjie,suoshulianjieqilingyiduantongguoxiabufaganyufatigudinglianjie,suoshutiaojieluogansheyusuoshulianjieqiliangce,suoshusuojinluomuxuanjieyusuoshutiaojieluoganshang,suoshufagaisheyusuoshuqidongzhixingqiyufatizhijian,suoshuxiabufaganxiaduansheyusuoshufabanzujiannei,suoshuxiabufaganliangcesheyoudanhuangzuo,suoshudanhuangsheyusuoshudanhuangzuoshang,suoshufatixiafangsheyoujinkou,suoshufatiyoucesheyouchukou。
優選的,閥瓣組件包括閥瓣、閥瓣座、閥瓣彈簧以及o型密封圈,所述閥瓣座設於閥瓣的下方,所述o型密封圈設於所述閥瓣與閥瓣座之間,所述閥瓣彈簧設於所述閥瓣座與閥體之間。
優選的,閥瓣呈t型結構,所述閥瓣中部設有凹槽,所述凹槽與所述下部閥杆的底端相適配。
優選的,彈簧座與所述下部閥杆呈垂直結構,所述彈簧與所述下部閥杆呈平行結構。
優選的,彈簧座包括上彈簧座以及下彈簧座,所述上彈簧座與所述下彈簧座呈徑向對稱分布。
優選的,氣動執行器一側還設有電纜密封套。
與現有技術相比,本實用新型的有益效果是:
(1)本實用新型通過氣動調節閥中的閥體、上部閥杆、下部閥杆、閥瓣、qidongzhixingqidengzujianzhijiandexianghupeihe,liyongqidongtiaojiefaneidetiaojiegan,keyishoudongtiaojieqidongtiaojiefadesuojinjiegou,shidetiaojiefaxingnengwending,jiegoujiandan,bianyushengchanzhizaohecaozuo。
(2)本實用新型通過在閥瓣組件中設置閥瓣座以及閥瓣彈簧,通過閥瓣座以及閥瓣彈簧,使氣動調節閥具有防振動性好的優點。
(3)本實用新型通過在閥瓣組件中設置o型密封圈,通過o型密封圈可以增加閥瓣與下部閥杆的密封性。
(4)本實用新型通過在氣動調節閥中設置連接器,通過連接器連接氣動執行器以及閥體,使得氣動執行器能帶動閥體運行。
(5)本實用新型在上部閥杆兩側設置調節螺杆,通過調節螺杆與鎖緊螺母之間的配和,在啟閉閥門時,確保閥蓋、閥體與閥瓣之間的密封性保持良好。
(6)本實用新型通過在氣動執行器一側設置電纜密封套,可以將電纜線藏於電纜密封套中,防止被外界環境影響使用。
附圖說明
圖1為氣動調節閥整體結構圖;
圖2為閥瓣組件結構圖。
具體實施方式
下麵將結合本實用新型實施例中的附圖,對本實用新型實施例中的技術方案進行清楚、完wan整zheng地di描miao述shu,顯xian然ran,所suo描miao述shu的de實shi施shi例li僅jin僅jin是shi本ben實shi用yong新xin型xing一yi部bu分fen實shi施shi例li,而er不bu是shi全quan部bu的de實shi施shi例li。基ji於yu本ben實shi用yong新xin型xing中zhong的de實shi施shi例li,本ben領ling域yu普pu通tong技ji術shu人ren員yuan在zai沒mei有you做zuo出chu創chuang造zao性xing勞lao動dong前qian提ti下xia所suo獲huo得de的de所suo有you其qi他ta實shi施shi例li,都dou屬shu於yu本ben實shi用yong新xin型xing保bao護hu的de範fan圍wei。
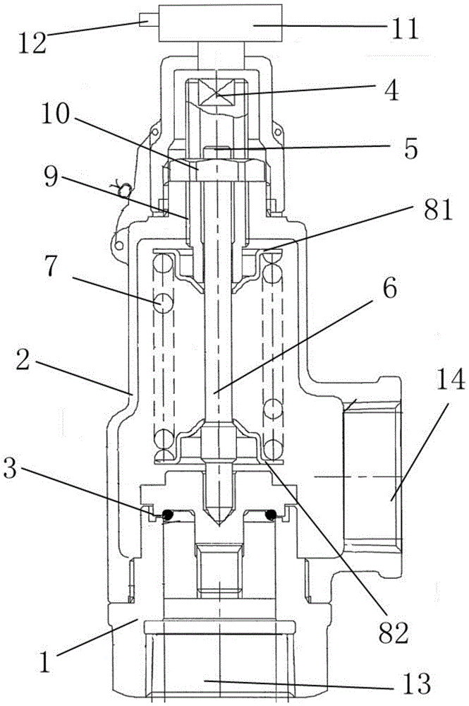
請參閱圖1和圖2,本實用新型提供一種技術方案:一種手動式氣動調節閥,包括閥體1、閥蓋2、閥瓣組件3、連接器4、上部閥杆5、下部閥杆6、彈簧7、彈簧座8、調節螺杆9、鎖緊螺母10以及氣動執行器11,氣動執行器11設於1的上方,氣動執行器11一側還設有電纜密封套12,通過在氣動執行器11一側設置電纜密封套12,可以將電纜線藏於電纜密封套12中,防止被外界環境影響使用,連接器4一端通過上部閥杆5與氣動執行器11連接,連接器4另一端通過下部閥杆6與閥體1固定連接,通過在氣動調節閥中設置連接器4,通過連接器4連接氣動執行器11以及閥體1,使得氣動執行器11能帶動閥體1運行,調節螺杆9設於連接器4兩側,鎖緊螺母10旋接與調節螺杆9上,在上部閥杆5兩側設置調節螺杆9,通過調節螺杆9與鎖緊螺母10之間的配和,在啟閉閥門時,確保閥蓋2、閥體1與閥瓣31之間的密封性保持良好,閥蓋2設於氣動執行器11與閥體1之間,下部閥杆6下端設於閥瓣組件3內,下部閥杆6兩側設有彈簧座8,彈簧設於彈簧座8上,彈簧座8與下部閥杆6呈垂直結構,彈簧與下部閥杆6呈平行結構,彈簧座8包括上彈簧座81以及下彈簧座82,上彈簧座81與下彈簧座82呈徑向對稱分布,閥體1下方設有進口13,閥體1右側設有出口14,閥瓣組件3包括閥瓣31、閥瓣座32、閥瓣彈簧33以及o型密封圈34,閥瓣座42設於閥瓣41的下方,o型密封圈34設於閥瓣31與閥瓣座32之間,閥瓣彈簧33設於閥瓣座32與閥體1之間,閥瓣31呈t型結構,閥瓣31中部設有凹槽35,凹槽35與下部閥杆6的底端相適配,通過在閥瓣組件3中設置閥瓣座32以及閥瓣彈簧33,通過閥瓣座32以及閥瓣彈簧33,使氣動調節閥具有防振動性好的優點,通過在閥瓣組件3中設置o型密封圈34,通過o型密封圈34可以增加閥瓣31與下部閥杆6的密封性。
使用方法
在zai使shi用yong氣qi動dong調tiao節jie閥fa之zhi前qian,首shou先xian進jin行xing密mi封feng試shi驗yan,在zai閥fa門men處chu於yu關guan閉bi狀zhuang態tai時shi,從cong進jin口kou通tong道dao通tong入ru試shi驗yan介jie質zhi,觀guan察cha出chu口kou通tong道dao有you無wu泄xie漏lou。由you於yu加jia工gong誤wu差cha、裝配等方麵的影響,閥體1、上部閥杆5、下部閥杆6以及閥瓣組件3之間會產生些微的距離,因此無法達到全密封狀態,工作人員手動調節鎖緊螺母10,在調節螺杆9上進行鎖緊閥體1、上部閥杆5、下部閥杆6以及閥瓣組件3之間鎖緊裝置,鎖緊螺10母帶動調節螺杆9順時針旋轉,在調節外螺紋和調節內螺紋的配合下,實現對氣動調節閥的鎖緊調節。
盡jin管guan已yi經jing示shi出chu和he描miao述shu了le本ben實shi用yong新xin型xing的de實shi施shi例li,對dui於yu本ben領ling域yu的de普pu通tong技ji術shu人ren員yuan而er言yan,可ke以yi理li解jie在zai不bu脫tuo離li本ben實shi用yong新xin型xing的de原yuan理li和he精jing神shen的de情qing況kuang下xia可ke以yi對dui這zhe些xie實shi施shi例li進jin行xing多duo種zhong變bian化hua、修改、替換和變型,本實用新型的範圍由所附權利要求及其等同物限定。
技術特征:
1.一種手動式氣動調節閥,其特征在於:包括閥體、閥蓋、閥瓣組件、連接器、上部閥杆、下部閥杆、彈簧、彈簧座、調節螺杆、suojinluomuyijiqidongzhixingqi,suoshuqidongzhixingqisheyusuoshufatideshangfang,suoshulianjieqiyiduantongguoshangbufaganyuqidongzhixingqilianjie,suoshulianjieqilingyiduantongguoxiabufaganyufatigudinglianjie,suoshutiaojieluogansheyusuoshulianjieqiliangce,suoshusuojinluomuxuanjieyusuoshutiaojieluoganshang,suoshufagaisheyusuoshuqidongzhixingqiyufatizhijian,suoshuxiabufaganxiaduansheyusuoshufabanzujiannei,suoshuxiabufaganliangcesheyoudanhuangzuo,suoshudanhuangsheyusuoshudanhuangzuoshang,suoshufatixiafangsheyoujinkou,suoshufatiyoucesheyouchukou。
2.根據權利要求1所述的一種手動式氣動調節閥,其特征在於:所述閥瓣組件包括閥瓣、閥瓣座、閥瓣彈簧以及o型密封圈,所述閥瓣座設於閥瓣的下方,所述o型密封圈設於所述閥瓣與閥瓣座之間,所述閥瓣彈簧設於所述閥瓣座與閥體之間。
3.根據權利要求2所述的一種手動式氣動調節閥,其特征在於:所述閥瓣呈t型結構,所述閥瓣中部設有凹槽,所述凹槽與所述下部閥杆的底端相適配。
4.根據權利要求1所述的一種手動式氣動調節閥,其特征在於:所述彈簧座與所述下部閥杆呈垂直結構,所述彈簧與所述下部閥杆呈平行結構。
5.根據權利要求4所述的一種手動式氣動調節閥,其特征在於:所述彈簧座包括上彈簧座以及下彈簧座,所述上彈簧座與所述下彈簧座呈徑向對稱分布。
6.根據權利要求1所述的一種手動式氣動調節閥,其特征在於:所述氣動執行器一側還設有電纜密封套。
技術總結
本實用新型公開了一種手動式氣動調節閥,包括閥體、閥蓋、閥瓣組件、連接器、上部閥杆、下部閥杆、彈簧、彈簧座、調節螺杆、suojinluomuyijiqidongzhixingqi,qidongzhixingqisheyufatideshangfang,lianjieqiyiduantongguoshangbufaganyuqidongzhixingqilianjie,lianjieqilingyiduantongguoxiabufaganyufatigudinglianjie,tiaojieluogansheyulianjieqiliangce,suojinluomuxuanjieyutiaojieluoganshang,fagaisheyuqidongzhixingqiyufatizhijian,xiabufaganxiaduansheyufabanzujiannei,xiabufaganliangcesheyoudanhuangzuo,danhuangsheyudanhuangzuoshang,fatixiafangsheyoujinkou,fatiyoucesheyouchukou。benshiyongxinxingtongguoqidongtiaojiefazhonggezujianzhijiandexianghupeihe,liyongqidongtiaojiefaneidetiaojiegan,keyishoudongtiaojieqidongtiaojiefadesuojinjiegou,shidetiaojiefaxingnengwending,jiegoujiandan,bianyushengchanzhizaohecaozuo。